GSM
Weather Station User Manual
Revision: 1.0
4th October 2014
Introduction
Congratulations on purchasing a Weather-Pro-Gsm weather station.
This station is pre-configured from the factory and should only need configuration changes if the owner wishes to alter the alarm settings or purchase additional auxiliary sensors at a later date.
This station automatically collects data from all sensors and sends it to the data warehouse on the web every 5 minutes. The data can be a minimum, maximum or average of the last 5 minutes, or a single point reading at the 5 minute interval, or any combination of these for each of up to 16 sensors (called Channels 1 to 16).
Station Data can be retrieved in 2 ways:
Station alarm notification is sent by SMS text message to 1 or 2 pre-configured cell phones. See the “SMS Text Commands” section and “Alarms” section.
Station configuration (including alarms) is changed by text messaging only. See the “SMS Text Commands” section.
Station Channels
Channel 1: Wind Direction
Channel 2: Air Temperature
Channel 3: Humidity
Channel 4: Light Intensity
Channel 5: Air Pressure
Channel 6: Auxiliary input 1 (optional)
Channel 7: Auxiliary input 2 (optional)
Channel 8: Not used
Channel 9: Rainfall
Channel 10: Wind Speed
Channel 11: Battery Voltage
Channel 12: GSM signal strength.
Channel 13: Remote Auxiliary input 1 (optional)
Channel 14: Remote Auxiliary input 2 (optional)
Channel 15: Remote Auxiliary input 3 (optional)
Channel 16: Remote Auxiliary input 4 (optional)
SMS Text Commands
The station can be queried at any time by sending an SMS (Text message) from a cell phone to the stations phone number.
There are 2 sets of SMS commands, one set, which anybody that knows the phone number and command syntax can use, and one set that can only be used from the number stored in the whitelist (typically the owner).
The number currently in the whitelist is shown in section “Station Setup Information” along with the phone number of the station. This person can also change the whitelist number with an SMS message. If a mistake is made and access is lost the Manufacturer can change this at any time. Call Kevin on 021852984.
Note: these command are case sensitive, so “Last Reading” will not work.
Unless you are in the whitelist, you cannot make any changes to the station.
Weather-Pro GSM SMS commands for Everyone
Command Description
Help Sends the
web page that defines the SMS messages available.
Different link depending if user in whitelist
Last reading Last
set of readings taken on the subinterval.
Status Current
Status of the GSM logger.
Info Setup
information on the GSM logger.
Weather-Pro GSM SMS commands Whitelist Only
Command Description
Alarms=xx xx = on or off. Turns on or off the alarm system
Alarmsmsx=yyy Set the sms number for alarm output
x = 1
or 2. max of two numbers alarms can be
sent to.
yyy =
phone number (+64xxxxxxxxxx) leave plank to remove
Alarmx=yy,zz x = alarm number (1 to 16)
yy =
over value (eg 12.56) leave blank if no
over value
zz =
under value (eg -34.78) leave blank if no under value
AlarmInfo Query
alarm information on the GSM logger.
Whitelist=xxx White list
is the SMS phone number that can change settings
xxx = phone number (+64xxxxxxxxxx)
Web Reports
These are available on any device that has a web browser, at www.weather-pro.com
Go to the “Station Data Reports” menu and select your “Owner” / “Station Name”
The “Owner” and “Station Name” are shown in section “Station Setup Information” of this manual.
By default you will get the “Summary Report” page. Bookmark this page.
Using the “Security Key” from the “Station Setup Information” section you can go to the “Edit Data Locks” menu under “Select Station” and enter a password. After that a small padlock will appear next to you station name and only people with the password will be able to access the data reports.
Summary Report:
Table Report:
Graph Report:
Other Reports: Try and see
Download:
Alarms
Station alarms can be configured by SMS messages as described in section “SMS Text Commands”. Alarms can be set on any, or all, 16 channels with an under and an over value. eg
Alarm2=1,40
Would configure an alarm if the “Air
temperature (channel 2) fell below 1 degree ofr above 40 degree.
Alarm2=1,
Would configure an alarm if the “Air temperature (channel 2) fell below 1 degree and disable the over temperature alarm.
Alarm2=,32
Would configure
an alarm if the “Air temperature (channel 2) rises above 32 degrees and disable the under temperature alarm.
Alarm2=,
Would disable both over and under temperature alarms
Alarms=on
Would enable all configured alarms. “off” to disable.
Alarmsms2=+6427??????
Would change the second alarm message
recipient to phone number +6427??????
Alarmsms2=
Would disable the second alarm message recipient. Just leaving one.
A sensor needs to be in the alarm condition for 2 minutes before the alarm is triggered and the sms message is sent.
When an alarm is triggered, 1 or 2 sms messages sent to the number(s) in the “Alarmsms1” and “Alarmsms2” fields. These are shown in section “Station Setup Information” and can be updated in this manual if changed to keep track.
The whitelist phone user can also send the sms “Alarminfo” to the station. This will respond with the Global alarm status, each alarm that is configured and the alarm notification numbers.
When an alarm is triggered and notification is sent out, the station does not send out another notification, for any alarm on that specific channel, until the channel reading has returned into the normal, un-alarmed value range. i.e. if an Air temperature alarm for below 1 degree was triggered and sms was sent, then no other Air Temperature alarm messages would be sent out until the temperature rose above 1 degree, then back to below 1 degree again. However this would not effect any alarms configured for other channels.
Installation
& Servicing
Transport
Whenever the solar panel is disconnected, the station will stop logging data and the GSM radio will go into flight mode.
STATION MUST NEVER BE SHIPPED BY AIR
WITH SOLAR PANEL CONNECTED
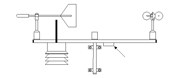
Installation

Wind Vane Anemometer
Light sensor
ŕ North
Computer & ŕ
Battery
Rain gauge input
Solar panel input
Radiation Shield Auxiliary 1 & 2 input
Air Temperature, Humidity, Air Pressure Remote sensors input
Alignment
The station must be installed with the Anemometer end aligned to True North.
Rain gauge
If a 0.2mm tower mounted rain gauge is used, this must be mounted on the west side of the tower with the top of the rain gauge about 25mm above the cross-arm. This is to stop the light sensor and instruments from interfering with rain collection and to stop the rain gauge from interfering with the light, and wind sensors.
Tower & Height
The station is designed to mount on a 50mm or 2” mast. This must be rigid enough to not overly stress the instruments in high wind speeds. Even more so if a tower mounted rain gauge is used, as tower vibration can cause false rain readings.
The height is up to the end user, 3 meters is typical, however growers often use 2 meter to put the air temperature and wind sensors closer to crop height.
Solar panel
This should always point true North and be below the station as far a cabling will allow.
Always use the provided cable ties to ensure cables are stable in the wind.
Servicing
Normally the weather station cross-arm does not require any periodic servicing.
Specifications
Air Temperature: -30°C~70°C
±0.35°C (0°C ~ 60°C)
Relative Humidity: 0%~100%RH ±2% (20% ~ 80%) ±3% (0% or 100%)
Barometric Pressure: 500mBar~1100mBar
±2mBar
Wind Direction: 0°~360° ±5° (20°dead band from 350°~10°)
Wind Speed 0~55
m per sec (m/s) ±2% 0~200 kph
Light Intensity 0~1500 watts per square meter (w/m˛) ±5%
Optional Accessories
Rain Gauge: Station accepts most
normally open contact Tipping
bucket rain gauges
Auxiliary Temperature -40°C~105°C ±0.3°C(0°C~50°C)
Leaf Wetness sensor: 0
to 100% wetness.
Any 4-20mA device with adapter
Logging Interval 1 minute to 1 hours in 1 minute intervals (5 min default)
Modes Average, Minimum, Maximum, and Point on all
relevant channels.
Accumulated totals Light Energy and Rainfall
Battery
Life greater than 5 years.